Загальні відомості по установці дизельних електростанцій
У цьому розділі розглядаються фактори, які потрібно враховувати, якщо ви зібралися купити дизельний генератор в Україні. Дотримання даних рекомендацій забезпечить ефективне та безпечне встановлення обладнання.
Обрання місця, де повинна розміщуватися дизельна електростанція, може бути найважливішою частиною будь-якої процедури встановлення.

Мал. 1: Приклад встановлення дизель генератора у приміщенні
Для визначення місця важливі такі чинники:
- Достатня вентиляція
- Захист від таких природних факторів, як дощ, сніг, ожеледь, опади з вітром, паводок, пряме сонячне світло, низька температура або надмірне тепло (в залежності від того в якій комплектації ви купуєте дизель генератор).
- Захист від забруднень, що розносяться повітрям, таких як абразивний або електропровідний пил, дим, масляний туман, пари, дим від вихлопу двигуна і т.д.
- Захист від механічних пошкоджень таких як дерева, стовпи, камені, автомобілі і т.д.
- Генератор дизельний вимагає не менше 1 метра навколо себе і 2 метрів над собою для охолодження і доступу для обслуговування (див. Рис. 2).
- Достатній простір, щоб помістити весь дизельний генератор у приміщенні. Вхідні і вихідні вентиляційні труби часто робляться з'ємними, щоб забезпечити точку доступу.
- Обмежений доступ для ненавченого персоналу.

Мал. 2: Типовий сервісний простір для дизель генератора
Встановлення поза приміщенням
Якщо вам необхідно купити дизель генератор для встановлення поза приміщенням, то він повинен бути поміщений під захищаючий від атмосферних впливів тент, або укомплектований кожухом (капотом або контейнером), якими комплектуються всі дизельні електростанції.
Для спрощення встановлення і переміщення можна купити електрогенератор дизельний у кожусі.
Існує два основних типи кожухів, в яких поставляється генератор електроенергії:
- Перший тип - шумопоглинаючий всепогодний капот. Він забезпечує як захист від атмосферних впливів, так і ослаблення шуму.
- Другий тип - всепогодний антивандальний контейнер типу «walk-in» (допускає вхід), аналогічний транспортному контейнеру. Він покликаний забезпечувати захист від атмосферних впливів або ослаблення шуму.
Купівля генераторних установок в капотах або контейнерах забезпечує їх автономність, значно полегшує їх транспортування і зводить до мінімуму обсяг робіт з їх монтажу. Вони також автоматично захищають від атмосферних впливів і запобігають несанкціонованому доступу.
При тимчасовому встановленні генераторного агрегату (наприклад оренда генератора) потрібно врахувати наступні умови:
- Помістіть дизельний генератор там, де він буде захищений від пошкодження і від вихлопних газів інших двигунів, а також від інших забруднювачів, таких як пил, пух, дим, масляний туман або пара.
- Переконайтеся, що обладнання розташовано так, що воно не буде заважати входу і виходу в тій зоні, де воно знаходиться.
- Дизельна електростанція повинна бути встановлена на тверду рівну поверхню, яка не буде осідати, і характеристики якої не будуть погіршуватися під дією вібрації, спричиненої роботою обладнання.
- Переконайтеся, що вихлопні гази від двигуна не будуть джерелом небезпеки, особливо якщо враховувати вітер.
- Переконайтеся, що навколо обладнання достатньо місця для доступу і можливості обслуговування.
- Забезпечте постійне електричне заземлення генераторної установки відповідно до існуючих вимог.
- Забезпечте доступ для поповнення паливного бака електростанції в міру необхідності.
- Забезпечте захист електричних кабелів між генераторним агрегатом і споживачами. Якщо вони прокладені землею, переконайтеся, що вони огороджені або закриті, щоб запобігти пошкодженню або травми персоналу.
Електрогенератори закритого виконання (в кожусі), слід встановлювати поза приміщенням.
У разі, якщо ви плануєте купити дизельний генератор закритого виконання для встановлення в приміщенні, то необхідно забезпечити достатній приплив свіжого повітря для охолодження, а гаряче повітря від двигуна і охолоджувальної рідини повинно виводитися за межі будівлі.
Повітроводи і вихлопні труби повинні бути сконструйовані так, щоб мінімізувати зворотній тиск, який чинить негативний вплив на ефективність роботи агрегату.
Установка у всепогодних антивандальних контейнерах типу «Walk-in»
Врахуйте таку інформацію, коли ви збираєтеся купити генератор дизельний в контейнерному виконанні:
- Дизельна електростанція в контейнері повинна бути встановлена на пласкій поверхні, щоб збереглося точне центрування.
- Контейнери можна з успіхом встановлювати на бетонний фундамент або на горизонтальну природню поверхню.
- Фундамент повинен витримувати статичну вагу модуля плюс динамічні сили від роботи двигуна.
- Встановлення контейнера на бетонний фундамент — це найкращий спосіб стаціонарної установки як стандартних, так і сконструйованих на замовлення контейнерів.
- Бетонний фундамент повинен бути розрахований, щоб витримувати вагу контейнера.
Переміщення дизельного генератора
Опорна рама установки сконструйована таким чином, щоб полегшити переміщення обладнання.
Неправильне використання може серйозно пошкодити компоненти агрегату.

Мал. 3: Приклади дизельних генераторів відкритого і закритого виконання
За допомогою вилочного навантажувача ви можете піднімати або обережно штовхати / тягти за опорну раму, куплену вами дизельну електростанцію (не штовхайте опорну раму безпосередньо вилами навантажувача). Завжди вставляйте дерев'яний брусок між вилами навантажувача і опорною рамою для розподілу навантаження, а також між візком навантажувача і боковиною корпусу, щоб уникнути пошкоджень.

Мал. 4: Транспортування дизельної електростанції за допомогою різних типів навантажувачів
Якщо електрогенератор дизельний буде регулярно переміщатися, ви можете купити його на полозках з додатковими отворами для вил навантажувача, а також вушками для кріплення тягових тросів.

Мал. 5: Приклад дизельного генератора на полозках
Щоб забезпечити стабільний і безпечний підйом генераторного агрегату, будь ласка, переконайтеся у тому, що його паливний бак порожній.
Ніколи не піднімайте дизель генератори за підйомні вушка двигуна або генератора змінного струму.
Переконайтеся, що підйомне оснащення і опорна конструкція знаходяться в хорошому стані і мають відповідну вантажопідйомність.
Не допускайте персонал до місця, де генераторна установка знаходиться в підвішеному стані.
Для підйому і установки устаткування можна скористатися однією / двома точками підйому або точками підйому на опорній рамі.
Перед підйомом слід перевірити точки кріплення, чи немає тріщин зварних швів або відкручених гайок і болтів. Для запобігання пошкодження генератора електроенергії при підйомі з опорної рами необхідно використовувати широкозахватну траверсу. Її необхідно встановити над центром тяжіння для забезпечення вертикального підйому. Щоб запобігти розкручування і розгойдування дизельного генератора після його відриву від землі, необхідно використовувати направляючі троси.
Опустіть електростанцію на рівну поверхню, здатну витримати її вагу.

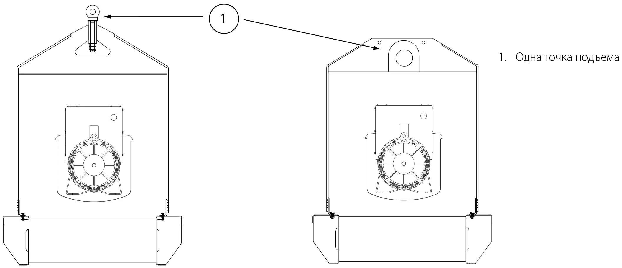
Мал. 6: Приклад підйому дизель генератора за одну точку

Мал. 7: Приклад підйому дизель генератора за дві точки
Зверніть увагу, що центр ваги не завжди знаходиться у центрі генераторного агрегату.
Не піднімайте дизельні генератори за сильного вітру.

Мал. 8: Правильна схема підйому дизель генератора (відкритого і закритого виконання)
Дозволені способи підйому дизель генераторів у всепогодних антивандальних контейнерах типу «Walk-in», відповідних ISO
Контейнери виготовляються з розмірами по стандартам ISO 1496-4:1994(E) і ISO 668:1995(E). Щоб забезпечити безпеку всього персоналу, який бере участь в переміщенні контейнерів, важливо застосовувати правильні процедури підйому і переміщення. Процедури, описані нижче, взяті зі стандарту ISO 3874:1997(E) і повинні дотримуватися в усіх випадках.

Мал. 9: Спосіб підйому для вантажних контейнерів, що відповідають ISO, серія 1
Дозволені способи підйому генераторів дизельних у всепогодних антивандальних контейнерах типу «Walk-in», які не відповідають ISO
Контейнери можуть виготовлятися з нестандартними розмірами. Щоб забезпечити безпеку всього персоналу, який бере участь в переміщенні контейнерів, важливо застосовувати правильні процедури підйому і переміщення.
Процедури для переміщення нестандартних контейнерів описані нижче і повинні дотримуватися в усіх випадках.

Мал. 10: Спосіб підйому для контейнерів, які не відповідають ISO
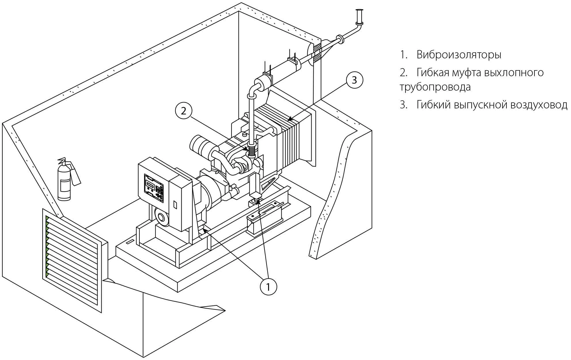
Фундаменти і віброізоляція
Генератори дизельні поставляються на жорсткій опорній рамі, яка забезпечує точне центрування генератора змінного струму і двигуна, і яку потрібно тільки закріпити болтами на поверхні, підготовленій відповідним чином.

Мал. 11: Типове встановлення дизельної електростанції у приміщенні на фундаменті
Фундамент
Подушка з армованого бетону — це найкраща основа для генераторної установки. Вона забезпечує жорстку опору, що перешкоджає деформації і вібрації. Зазвичай фундамент повинен мати глибину від 150 мм до 200 мм (від 6 до 8 дюймів), а ширина і довжина повинні не менше ніж на 150 мм (6 дюймів) перевищувати відповідні розміри електростанції. Земля або підлога під фундаментом повинні бути відповідним чином підготовлені, а їх структура повинна бути такою, щоб витримувати сумарну вагу фундаменту і електрогенератора.
Якщо ви хочете купити дизельну електростанцію і встановити її не на першому поверсі, то конструкція будівлі повинна витримувати вагу агрегату, запасу палива і допоміжного обладнання.
Слід звіритися з відповідними будівельними нормами і дотримуватися їх.
Якщо підлога час від часу виявляється мокрою, як, наприклад, у котельні, подушка фундаменту повинна бути вище підлоги. Це забезпечить суху поверхню для дизельного генератора і для тих, хто встановлює, обслуговує обладнання або працює з ним. Це також зменшує вплив корозії на опорну раму.
Віброізоляція
Якщо ви хочете купити генератор дизельний в Україні і мінімізувати передачу вібрацій від двигуна на будівлю, то вам необхідно купувати електростанцію з віброізоляторами.
На малих і середніх генераторних агрегатах ці ізолятори встановлюються між лапами двигуна / генератора змінного струму і опорною рамою. Це дозволяє жорстко кріпити раму болтами до фундаменту.
На більших генераторних установках з'єднаний муфтою двигун / генератор змінного струму жорстко кріпиться до опорної рами, а віброізолятори поставляються окремо для встановлення між опорною рамою і фундаментом.
У всіх випадках обладнання повинне бути надійно закріплене болтами на основі (або через опорну раму, або через віброізолятори), щоб виключити переміщення.
Віброізоляція необхідна також між дизельним генератором і його зовнішніми з'єднаннями. Це забезпечується застосуванням гнучких з'єднань в паливних трубопроводах, випускній системі, відвідному повітропроводі від радіатора, кабельних трубопроводах для керуючих і силових кабелів і інших допоміжних системах із зовнішнім приєднанням.
Зберігання
Якщо ви хочете купити електрогенератор в Україні і якийсь тривалий час його зберігати, ви повинні враховувати той факт, що це може впливати на двигун і генератор змінного струму. Цей вплив можна зменшити правильною підготовкою і зберіганням дизельної електростанції.
Зберігання двигуна
Двигун повинен пройти процедуру консервації, яка включає в себе очищення двигуна і заміну всіх рідин свіжими або консервантами. Дивіться опис процедури в керівництві до двигуна.
Зберігання генератора змінного струму
Коли генератор змінного струму поставлений на зберігання, в обмотках може утворитися конденсат. Для зменшення конденсації зберігайте дизель генератор у сухому приміщенні. За можливості використовуйте обігрівачі, щоб підтримувати обмотки в сухому стані.
Перед експлуатацією дизельної електростанції після зберігання перевірте ізоляцію. Якщо показники нижче, ніж були до зберігання, можливо, необхідно просушити обмотки. Дивіться ці процедури у керівництві до генератора змінного струму.
Якщо після сушки свідчення мегомметра нижче рекомендованих, ізоляція зіпсована і необхідний її ремонт.
Зберігання аккумулятора
Коли акумулятор знаходиться на зберіганні, його слід заряджати кожні 12 тижнів (8 тижнів у тропічному кліматі) до повністю зарядженого стану.
Перед тим, як купити генератор в Україні, зверніться до фахівців компанії «ВІНУР» за рекомендаціями з його встановлення.
